ГОСТ 1486-84
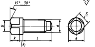
Винты установочные с квадратной головкой и ступенчатым концом со сферой классов точности А и В
Описание
Описание товара пока недоступно.
Винты установочные с квадратной головкой и ступенчатым концом со сферой классов точности А и В
Описание товара пока недоступно.